趋势网(微博|微信)讯:自iPhone 6s/6s Plus发布以后,关于iPhone 7/7 Plus的传闻便层出不穷。如,没有“白带”的设计、防水和摄像头不突起等等的传闻。虽然这些都是传闻,但是苹果确切申请了相关的专利。如果在 iPhone 7/7 Plus没有实现,那么则极有可能出现在未来的iPhone上面。所以,如果想窥探苹果未来iPhone的新特性,不妨先来看看苹果最近申请那些与手机相 关的新专利。






伊朗阿巴斯港一栋居民楼传出爆 炸声
女子因幼犬轻咬未处理引发狂犬病
爱泼斯坦文件爆比尔盖茨曾患性病
12306取消订单3次当日无法购票
女儿被撞妈妈看监控后退回500元赔偿
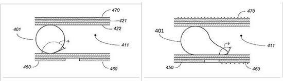
苹果iPhone 6s/6s Plus除了带来大幅度的硬件升级外,其最大的亮点便是3D Touch功能。然而,苹果并不满足于仅将这种压感操作适配在iPhone的屏幕上面。近日有消息显示,苹果已经通过了一项与3D Touch触控技术有关的专利,也就是在未来iPhone或iPad的Home键上面集成类似3D Touch的压感操作技术。

根据相关文件显示,苹果的这项专利命名为“压敏指 纹输入系统”。专利相关描述为,在Home键中加入可检测按压力度的电容传感器,使Home键在 Touch ID(指 纹识别)的基础上增加类似3D Touch的功能。这意味着在Home键可通过不同的按压力实现不同的操作,如我们可以通过重压Home键,而快速启动相机或手电筒等功能。此外,苹果甚 至还可能将压感与Home键的Touch ID组合形成其它新的功能。
新机登陆iCloud便可使用Touch ID
苹果在iPhone 5s上面集成指 纹识别的Touch ID时,便一直强调其用于保护Touch ID生物识别数据的保障措施,也就是说用于存储数据的独立存储芯片(Secure Enclave),其他应用无法通过生物特征数据访问,而数据也不会存储至服务器。但是,苹果最近曝光的一项新专利则显示,苹果正考虑使用iCloud等 云服务来储存用户的指 纹数据。
苹果该项新专利被称为“通过云计算设备和相关方法同步指 纹生物传感器数据”。专利显示,苹果有意在云端同步Touch ID的指 纹数据,这种便可以省去在新iPhone或iPad上手动设置Touch ID的麻烦。也说是说,当我们更换新机的时候,直接登陆iCloud便可以下载指 纹数据,以及使用Touch ID功能。

至于安全问题。苹果在专利申请中说明,称首次收集到的指 纹信息会通过自身处理器,采用特殊的加密算法,上传该账户的识别信息以及指 纹生物特征信息至云 端。然而,使用其它设备时需要接受指 纹信息也会通过收集数据与云端指 纹数据匹配。只有当两者符合的时候,才会下载更多的云端加密指 纹数据。不过,虽然是说具备加密处理,但上传到云端便意味着有泄露的风险,如早前iCloud的艳 照门事件。
防尘防水的iPhone,索尼粉真的没意见?
由于iPhone 6s/6s Plus的内部加入了大量的硅胶垫圈以保护主板线路和屏幕的设计,所以其防水性能也得到明显的提升。但是,遗憾的是iPhone 6s/6s Plus并不是真正意义的手机。然而,根据苹果最近一些专利显示,苹果或许有意推出防尘防水的iPhone。

美国商标专利局最近公布了苹果一项名为“通过孔口排出液体”的专利,该项专利描述了一种通过改变声学器件(扬声器或是麦克风)内部导电元件的电荷分布,从而将液体排出手机的技术。
据专利文件描述,当声学模块内的传感器检测到水汽进入后,就会通过策略性地改变腔体壁上的电荷分布来收集或移动液体,从而将侵入的水汽通某些过孔洞排出。另外,专利内也描述了利用扬声器单元产生的声波来驱除液体的方法。

此外,苹果还申请了接口保护设计的专利,该设计可以通过控制机制自动屏蔽iPhone和iPad等设备的扬声器、麦克风等开放接口(包括SIM卡槽、耳机插口),保护设备内部的敏感组件免受液体等污染物的影响。
由苹果近几年iPhone的设计,以及众多与提高防水设计的专利来看,苹果显然是有意打造支持防水的手机。不过,就怕当苹果带来防水的iPhone时,索尼粉会说,“唉!这个早就玩腻了!”
太薄任性,如果摄像头不突呢?
由于追求薄的机身设计,所以苹果也不得不在摄像头突起这个问题前面妥协,当然这也成为我们经常调侃iPhone 6和6s的地方。然而,根据苹果一项新专利显示,苹果似乎找到了压缩摄像头组件厚度的设计,从而避免手机摄像头突起。

苹果该项专利名为“微型高分辨率相机”,就是通过球面传感器及镜头阵列来捕捉高分辨率图像。这种成像方案仅需三组镜片,由于镜片数量的减少,其厚度方面 也会大量缩减。此外,镜片数的减少还有利于降低入射光损失,拍出的照片会更加明亮锐利。不过,镜片组数降低也意味着衍射与畸变更难控制,由此便只能靠苹果 的软件优化来弥补。
苹果使用OLED屏,可能是为了这个!
最近关于新iPhone采 用OLED屏幕的传闻同样是不绝于耳,而OLED主要供应用三星和LG频繁的动作似乎也证实了此传闻。由于OLED 相对于 LCD 具有更薄、更省电、更高色域和视角等特点,所以苹果使用OLED屏便成了理所当然的选择。此外,苹果可能更看重OLED的可弯折特性,为将来设计环绕屏的 设备作准备。

根据美国专利商标局消息,苹果已经考虑采用“环绕式显示屏”的设计,而且也申请相关的专利。苹果的该项专利命名为“采用环绕式显示屏的电子设备”,资料 显示该设备采用了“中空罩面结构”的设计,配备了360度环绕式的屏幕,而且在外面添加了一层蓝宝石等晶体材料作为保护材质。
不过,目前曲面屏的使用处于试用阶段,而且目前的OLED曲面屏也并未完全成熟。所以,相信在短时间内,苹果并不会推出类似360度环绕显示屏的iPhone。但,不排除苹果在未来会推出这样的产品。
事实上,每年苹果新奇的专利都会导出不穷,甚至还有大部分难以实现的专利。然而,上述提到的专利则极有可能在未来新iPhone上实现,至于是第几代iPhone,拭目以待。